首 页
热门项目
知识产权
申报通知
成功案例
资讯动态
关于我们
高新技术企业认定网
>
动态信息
>
行业动态
>
地区范围:
全部
福建省
福州市资助项目
福州市科技局
福州市工信局
福州其他政府资助项目
厦门市资助项目
厦门市工信局
厦门市科技局
厦门市发改委
湖里区
翔安区
同安区
海沧区
思明区
集美区
火炬高新区
自贸片区
厦门其他资助项目
深圳部委资助项目
深圳市人力资源和社会保障局
深圳市科技创新委员会
深圳市工业和信息化局
深圳市发展和改革委员会
深圳市中小企业服务局
深圳市软件行业协会
深圳市其他政策项目
深圳各区补贴项目
宝安区资助项目
龙华区资助项目
龙岗区资助项目
光明区资助项目
坪山区资助项目
南山区资助项目
福田区资助项目
罗湖区资助项目
盐田区资助项目
大鹏新区资助项目
湖北省资助项目
省级资助项目
武汉市资助项目
武汉市各区资助项目
主打项目:
高新技术企业认定
知识产权申请
知识产权贯标
贷款贴息
科技小巨人企业
创新型中小企业
技术改造
福建省级高新技术企业
专精特新
高层次人才政策
研发经费分段补助
单项冠军企业
科技小巨人
知识产权优势企业
科技创新券
武汉高新技术企业
瞪羚企业
小巨人企业
专精特新
双软企业
技术改造
规上工业企业
福州高新技术企业
科技小巨人企业
企业技术中心
双创孵化载体
科技创新券补助
技术改造
人才引进政策
厦门高新技术企业
双软评估
技术改造
贷款贴息
研发资助
双百计划
科技企业孵化器
高企政策
国高补贴
专精特新
租金补贴
技术改造
展会补贴
贷款贴息
研发资助
创业补贴
技术攻关
守合同重信用
规上企业
特色项目:
ICP许可证
SP经营许可证
EDI经营许可证
创新型企业认证
专精特新
知识产权贯标
两化融合
项目搜索:
全部栏目
福建省资助项目
福州市资助项目
--福州市科技局
--福州市工信局
--福州其他政府资助项目
厦门市资助项目
--厦门市工信局
--厦门市科技局
--厦门市发改委
--湖里区
--翔安区
--同安区
--海沧区
--思明区
--集美区
--火炬高新区
--自贸片区
--厦门其他资助项目
深圳部委资助项目
--深圳市人力资源和社会保障局
--深圳市科技创新委员会
--深圳市工业和信息化局
--深圳市发展和改革委员会
--深圳市中小企业服务局
--深圳市软件行业协会
--深圳市其他政策项目
深圳各区补贴项目
--宝安区资助项目
--龙华区资助项目
--龙岗区资助项目
--光明区资助项目
--坪山区资助项目
--南山区资助项目
--福田区资助项目
--罗湖区资助项目
--盐田区资助项目
--大鹏新区资助项目
湖北省资助项目
--省级资助项目
--武汉市资助项目
--武汉市各区资助项目
行业动态
公司动态
政府动态
行业动态
高新技术企业奖励
专精特新政策奖励
热点动态
厦门市及各区专精特新相关补贴政
针对不同时期的企业,都有哪些银
湖北省、市、区关于大模型扶持的
武汉市关于就业创业补贴优惠政策
福州市及各县区关于人才优惠政策
福建各地市高新技术企业扶持政策
龙岗区技术技能人才支持政策汇编
联系我们
广东电话:0755-23325955
福州电话:0591-87320106
厦门电话:0592-5730092
西安电话:17841018652
重庆电话:17841018652
武汉电话:17771790608
电子邮箱:ly@kt180.com
地址:深圳市龙华新区清龙路港之龙商务中心B座908~909
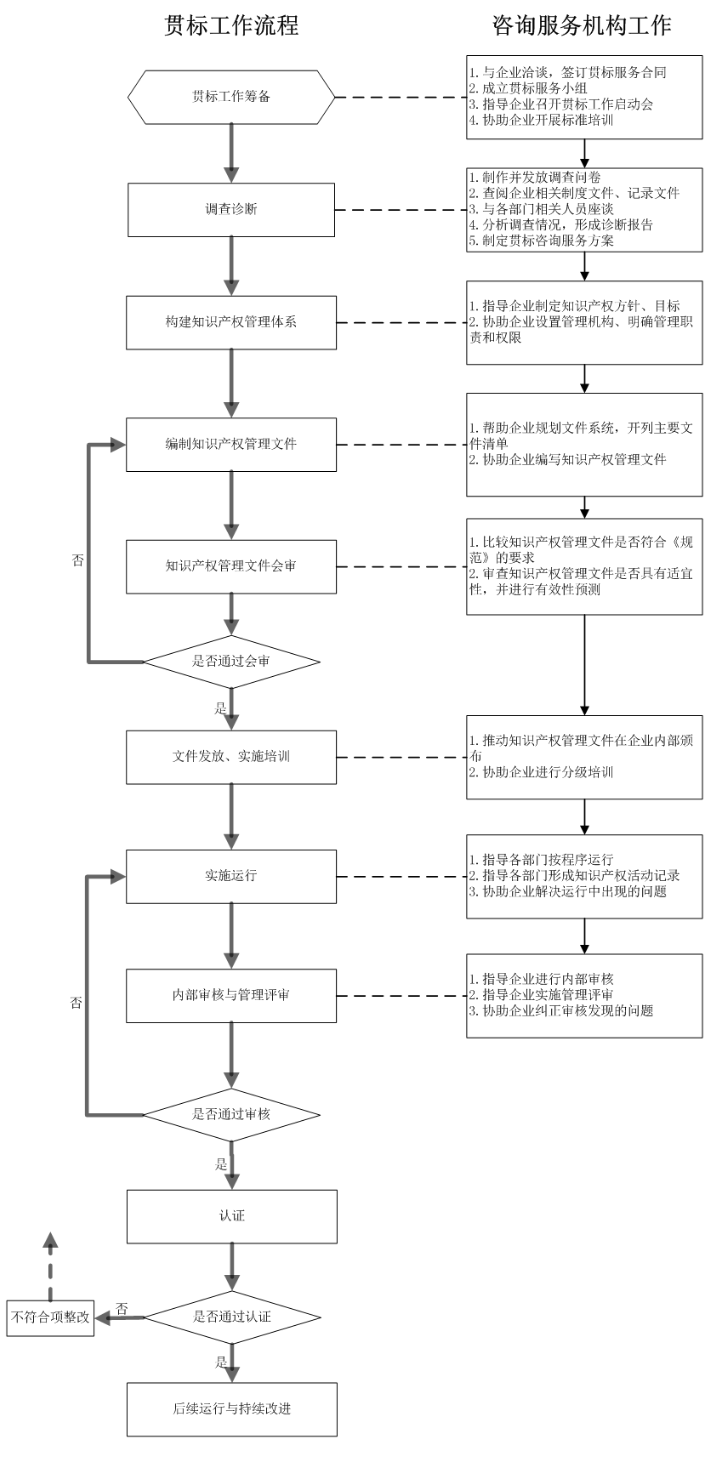
知识产权贯标整体流程
发布时间:2019-08-29
内容编辑:宇辰管理
点击数:
上一篇:
什么是知识产权贯标?
下一篇:
《企业知识产权管理规范》适用于哪些企业?
深圳项目
高新技术企业认定
专精特新企业
创新型中小企业
科技型中小企业
技术改造
技术合同认定
青年鲲鹏项目
合成生物企业认定
三首项目
企业上云计划
低空经济领域资助项目
科技企业研发投入扶持项目
企业技术中心
制造业单项冠军
战略性新兴产业专项资金项目
标准领域专项资金
广东省名优高新技术产品
规模以上企业
智能工厂
知识产权专项
贷款贴息项目
半导体与集成电路领域项目
工程技术研究中心
一次性扩岗补助
宝安区企业增资扩产补贴项目
南山区高成长性国高支持计划
创业补贴
研发资助
租金补贴
展会补贴
福州项目
高新技术企业认定
专精特新企业
创新型中小企业
科技型中小企业
技术先进型企业
科技创新券补助
星创天地
科学技术奖
创新载体类
制造业单项冠军企业
绿色工厂(绿色制造)
企业技术中心
工业设计中心
新型研发机构
科技小巨人企业
技术合同认定登记机构
科技计划项目
榕创之星人才计划
科技特派员认定
厦门项目
高新技术企业认定
专精特新企业
创新型中小企业
科技型中小企业
技术先进型企业
科技创新券补助
星创天地
科学技术奖
集成电路产业
制造业单项冠军企业
绿色工厂(绿色制造)
企业技术中心
工业设计中心
新型研发机构
高新技术成果转化项目
企业研发费用补助
软件产业
产学研项目补助
工业固投(技改)补助
未来产业骨干企业
人才项目
新引进人才生活补贴
科技中小企业创新项目
在厦创业就业扶持政策
武汉项目
高新技术企业认定
专精特新企业
创新型中小企业
科技型中小企业
研发奖励
集成电路产业
小进规企业
重点研发计划
企业研究开发中心
制造业高质量发展专项资金
工业智能化改造示范项目
科技成果转化中心
企业技术中心
独角兽企业
技术创新中心
制造业创新中心
人才认定
制造业单项冠军
科技创新券
科技创新平台
科技金融政策
软件产业政策
湖北精品
特色文化产业园
智能工厂梯度培育
新型研发机构认定
咨询
收藏
公众号
回顶部
// 收藏本站