知识产权贯标常见问答(一)
什么是知识产权贯标?
“知识产权贯标”对于企业来说,就是贯彻实施《企业知识产权管理规范》国家标准。通常所说的“贯标”,是指贯彻实施ISO9000质量管理体系标准、ISO14000环境管理体系标准和OHSAS18000职业健康安全管理体系规范等,贯彻实施《企业知识产权管理规范》,也是贯标的一个类别,也称为知识产权贯标。知识产权贯标和质量管理体系等贯标的工作模式是类似的,两者都是采用了PDCA方式作为管理体系的基本过程方法,只是涉及的内容是不同的。
企业为什么要做知识产权贯标?
政府扶持:最高可获得55万的政府资金资助
项目支持:优先推荐申报各类政府项目支持
评优优先:优先推荐“国家级知识产权优势企业”
管理升级:提高企业知识产权管理水平,提升核心竞争力
形象提升:通过国家验收,获得证书,全面提升企业形象
风险防范:强化企业知识产权风险防范意识,优化管理机制,降低运营风险
深圳知识产权贯标企业会获得多少补助?

申请知识产权贯标时长?
贯标辅导周期在3~4 个月,认证周期2个月左右。出于企业的需要与工作安排,全程周期可适当压缩,高效率的贯标进程离不开企业领导重视和各部门参与人员的高度配合。
申请知识产权贯标目的?
为建立企业知识产权工作的规范体系,认真贯彻落实《国家知识产权战略纲要》,加强对企业知识产权工作的引导,指导和帮助企业进一步强化知识产权创造、运用、管理和保护,增强自主创新能力,实现对知识产权的科学管理和战略运用,提高国际、国内市场竞争能力。
知识产权贯标需要花多少钱?
知识产权贯标可能需要花两部分的钱:a) 贯标咨询服务费用和b) 贯标认证费用。通常情况下,所需的费用大体如下:贯标咨询服务费用:由服务机构收取,一般贯标辅导阶段3万起,认证托管阶段2万起;贯标认证费用:由认证公司收取,根据情况的不同,一般2~3万。
一服务机构:支付方式:签订合同支付50%,通过认证支付50%。
二认证机构:
1、认证申请费:1000元。
2、审核费:4000元×人日数,申请认证组织的具体认证审核工作量(人日数)可由认证机构根据申请认证组织的规模、业务领域数量、专业特性等实际情况确定,按上述标准确定审核费用。
3、审定与注册费(含证书费):2000元。
4、年金(含标志使用费):2000元/年,每年交纳一次。
5、加印/补发证书/换发证书费:100元。
首次认定需要支付给认证机构的费用(以上费用总和)预计2-2.5万元左右。
第2年的监督审核费8000元/年。
第3年的监督审核费8000元/年。
知识产权贯标需要花多长时间?
一般情况下6个月左右时间完成贯标辅导工作,做足了准备后即可申请认证;认证时间要根据认证公司的安排而定,如两个月到半年不等。
知识产权贯标及认证的服务流程是怎样的?
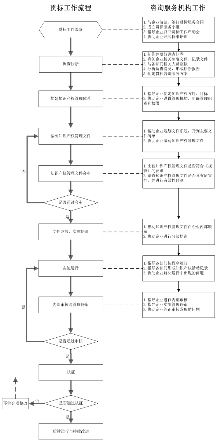
贯标辅导服务流程包括了企业知识产权管理体系的建立与运行,具体包含以下8个阶段:贯标启动→调查诊断→体系构建→手册编写→发文宣贯→实施运行→内部审核→管理评审;认证托管服务流程包括了企业知识产权管理体系的审核与认证,具体包含以下3个阶段:模拟认证→认证申请→协助通过认证。

企业开展知识产权贯标工作的意义?
1.通过激励创造知识产权,促进企业技术创新;
2.通过灵活运用知识产权,改善企业市场竞争地位;
3.通过全面保护知识产权,支撑企业持续发展;
4.通过系统管理知识产权,提升企业核心竞争力。
除了上述给企业带来的价值外,在一些中央部委和地方政府出台的政策文件中,已经将企业知识产权管理规范认证情况作为科技项目立项,以及高新技术企业、知识产权示范企业和优势企业认定的重要参考条件或者前提条件。及早通过贯标及认证,将有利于企业享受有关的国家政策、加快企业发展。
企业知识产权管理规范》适用于哪些企业?
该国家标准适用于有下列愿望的企业:1.建立知识产权管理体系;2.运行并持续改进知识产权管理体系;3.寻求外部组织对其知识产权管理体系的评价。换一个角度讲,各级知识产权(专利)试点、示范、优势企业,高新技术企业、创新型企业等都有必要通过贯标建立和完善自身的知识产权管理体系。
申请宝安区知识产权贯标资助需要哪些材料
1、《宝安区知识产权贯标资助申请表》(签字盖章)
2、企业营业执照复印件;
3、国家认监委批复成立的知识产权管理体系认证公司出具的《企业知识产权管理规范》(GB/T29490-2013)认证证书复印件
4、上年度纳税证明(国税和地税)
申请表(除封面外)请双面打印,并签字盖章。以上材料要求收复印件的,均需加盖公章,并需查验原件,其他材料均收原件;以A4规格制作,按顺序编制页码简单装订成册,一式一份。
深圳市知识产权贯标各区的资金补助
|
区域 |
条件 |
资助额度 |
|
广东省 |
1.获得《知识产权管理体系认证证书》; |
5万/家 |
|
2.完成省局的企业知识产权管理规范认证后补助项目备案 |
||
|
深圳市 |
1.获得《知识产权管理体系认证证书》; |
20万/家 |
|
2.参见操作规程和申请指南 |
||
|
福田区 |
1.获得《知识产权管理体系认证证书》; |
10万/家 |
|
2.参见操作规程和申请指南 |
||
|
龙华区 |
1.获得《知识产权管理体系认证证书》; |
30万/家 |
|
2.参见操作规程和申请指南,每年10家,知识产权排名本区前列,最近有放开指标的趋势。 |
||
|
大鹏区 |
1.获得《知识产权管理体系认证证书》; |
10万/家 |
|
2.参见操作规程和申请指南 |
||
|
龙岗区 |
1.获得《知识产权管理体系认证证书》; |
10万/家 |
|
2. 参见操作规程和申请指南 |
||
|
盐田区 |
1.获得《知识产权管理体系认证证书》; |
10万/家 |
|
2. 参见操作规程和申请指南 |
||
|
宝安区 |
1.获得《知识产权管理体系认证证书》; |
20万/家 |
|
2.参见操作规程和申请指南,每年20家 |
知识产权贯标整体流程
研发型企业不涉及生产,比如软件开发公司,可以申请知识产权管理体系认证吗?
可以,审核组会根据企业实际经营的产品情况进行审核并给出合适的认证范围。
企业通过了质量管理体系认证,相关与知识产权认证重合的文件是否可以沿用?如果可以,怎么编号?
能否沿用,要看是否符合企业知识产权管理的要求。文件编号可按照文件控制程序的规定进行。
知识产权管理体系覆盖范围与主营业务范围的关系?
知识产权管理体系覆盖范围要小于/等于主营业务范围,同时不得超过特定行业领域资质许可范围,最终的覆盖范围以证书确认件范围为准。
深圳代理企业知识产权贯标的机构
还在为企业的荣誉与资金问题发愁吗?还是因为找不到靠谱的机构而烦恼?
现在宇辰管理就能一一为你解决,专注于高新技术企业认定,知识产权代理,知识产权贯标,双软企业评估等服务,融合了国家项目专家,创业导师,高级咨询师等各大优秀人才,只要你需要,我们将提供免费的1对1免费上门评估,并制定完善补贴政策措施,为您的企业保驾护航,还在等什么,拿起手中的电话为自己的企业做一个长期的规划吧。
知识产权贯标不仅是企业的荣誉,而且还能获得政府的补贴,它不是几万,而且几十万,只要申请过了,全款带回家。现在您不用担心机构的不专业,不靠谱。选择宇辰给你最贴心的保证。专业团队指导 , 全程扶持企业到领证 , 科创委指定代理机构, 成功高达数千家以上 , 专业代理,经验丰富,确保企业顺利通过。还在等什么,行动起来吧!!!
没有专利能不能做贯标?著作权行不行?
没有专利可以申请,但是广州市的补贴只能拿60%,建议企业申请或者购买至少5个专利。专利包括发明专利、实用新型专利、外观设计专利,软件著作权属于知识产权但不属于专利。
做了贯标会不会增加公司内部管理成本?
不会,贯标是一套针对知识产权的管理体系,可以跟公司原有管理体系结合,让公司管理更加规范,避免知识产权纠纷,所以对企业是很有帮助的。
贯标证书有效期是多久?要不要年审?
通过贯标后每3年要再认证,审核费用为初次认证费用的三分之二左右,只要通过再认证则证书依然有效。
证书有效期满前3个月向认证机构申请复审,更多详情可咨询中科为小编,让您初审、复审无阻碍。
你们公司有做贯标的资质吗?
目前能够审核发证的机构只有中规(北京)认证公司、中知(北京)认证公司这两间公司,我们作为辅导机构只是辅导企业建立知识产权管理体系,但同时我们与上述两间公司有良好关系,能确保通过审核。
做贯标怎么收费?
做贯标的费用分为两部分
一是辅导企业建立体系的服务费,总共是5万
二是请中规或中知公司过来进行审核的费用,按公司规模收费不同,一般在2万元左右,具体如下:
申请费:1000元;审核注册费2000元;年金2000元;审核费:4000元/人日。
能不能前期不收费,拿到补贴再给?
假如企业不想在前期承担7万元的服务费和外审费用,我们可以委托第三方以投资形式代为支付前期费用,待拿到政府补贴后企业与第三方投资人按约定比例分配。
比如,第三方投资人支付50%,企业支付50%,则企业前期只需支付3.5万,拿到25万补贴后,可获得12.5万元补贴,投资人也可以获得12.5万元补贴。
启动贯标后公司要做什么事情?
签订合同启动贯标后,我们将安排贯标启动会,跟相关人员做培训,结合公司实际建立管理体系,公司需要指定专人对接,而各部门只需配合执行则可。外审时,我们会到场协助审查。
流程:成立专家项目组,筹备指导启动会——入驻企业内部调查,出具诊断报告文件——协助构建管理体系,指导编撰体系文件——指导培训企业员工,协助企业实施运行——开展企业内部审核,及时协助解决问题——为企业建立快速认证通道,帮助认证直至成功


