热点动态
深圳市技术改造项目申报
发布时间:2019-05-19内容编辑:宇辰管理
点击数:
深圳市技术改造项目申报实施主体
深圳市人力资源和社会保障局
深圳市技术改造项目申报法定办结时限
20 ( 工作日 )
深圳市技术改造项目申报受理条件
在深圳工作且交社保两年及以上的技术工人、工程技术人员。
深圳市技术改造项目申报网上办理流程
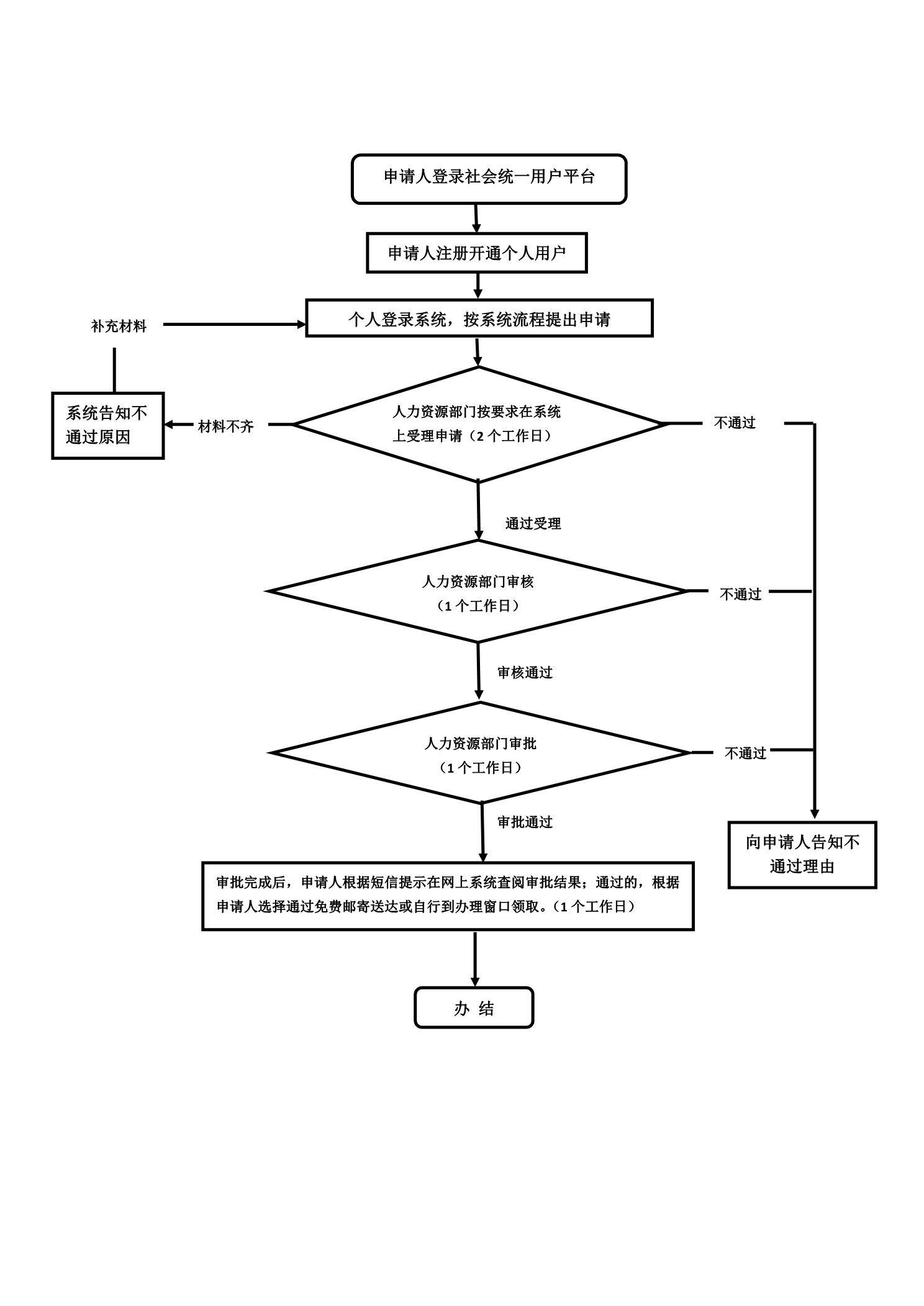
1、注册用户。申请人登录社会统一用户平台注册用户(已注册用户可跳过此步骤)。
2、申报。申请人在技术改造项目征集申报期内,使用社会统一用户平台注册的用户名和密码登录申报。根据系统指引填报相关信息,核查无误后选择提交申请。
3、网上受理。后台工作人员2个工作日内通过统一受理平台进行受理。申请材料不齐全的,退回申请材料并一次性告知申请人需补正的全部材料内容。
4、审核。根据征集公告要求,审核人员在1个工作日完成材料审核。
5、审批。根据征集公告要求,审批人员1个工作日内完成后台审批。
6、办结:审批完成后,审核人员在1个工作日内将审批结果录入系统,该事项办结。
7、送达:申请人根据短信提示在网上系统查阅审批结果;通过的,根据申请人选择通过免费邮寄送达或自行到办理窗口领取。

深圳市技术改造项目申报申请材料
《技能培训技改项目申报表》
申报人身份证明
异地颁发的职业资格证书或专业技术资格(职称)证书
深圳市技术改造项目申报设定依据
关于深圳市高技能人才公共实训管理服务中心有关机构编制事项的批复(深编〔2007〕111号)
依托高训基地,提供高技能人才技能训练、技能鉴定、技术改造、技术交流、技能培训成果及职业展示、技术信息咨询等公共服务。
深圳市宇辰管理咨询有限公司(简称宇辰管理)专为科技型企业提供政府资助项目申报辅导、国家高新技术企业认定、深圳市高新技术企业认定、知识产权代理、软件企业评估、项目可行性研究等综合性服务,最大限度地利用团队智慧和市场优势为客户提供最优质的服务,助推客户企业快速腾飞。


