深圳市龙岗区科技金融扶持(科技型企业)项目申报指南
发布时间:2019-07-10内容编辑:宇辰管理
扶持项目名称
科技金融扶持(科技型企业)
项目类别
核准制
科技金融扶持网上受理期
暂未确定受理时间,申报材料、申报条件及申报要点待定!
科技金融扶持书面材料受理期
暂未确定受理时间,申报材料、申报条件及申报要点待定!
科技金融扶持申请条件
(一)在龙岗区注册、纳税,具有独立法人资格的科技型企业。
(二)“助飞贷”要求获得贷款的科技型企业成立2年以上,上年度主营业务收入1000万元以上、2亿元以下。“创业贷”要求获得贷款的科技型企业成立1年以上,上年度主营业务收入1000万元以下。
(三)所获贷款为纯信用贷款,且资金须用于研发投入、原材料购买、技术改造、设备购置、生产经营等企业经营活动。
(四)该笔贷款已正常完成还本付息。
科技金融扶持申报材料
1.申报书(通过龙岗区产业管理服务平台生成并打印)
2.组织机构代码证(统一社会信用代码证)复印件(验原件)
3.营业执照或事业单位、社会团队登记证书复印件(验原件)
4.税务登记证复印件(验原件)
5.上年度完税证明复印件
6.上年度财务审计报告(验原件)
7.贷款合同书及财务入账记录、凭证等证明材料复印件(验原件)
8.由银行出具的贷款结清证明材料复印件(验原件)
9.担保合同书及担保费用的发票、凭证等证明材料复印件(验原件)
10.企业贷款用途和使用情况证明材料)复印件(验原件)
11.上述材料按顺序合并装订成册,附有目录及页码,书脊处需注明企业名称,提交一式二份。所有材料正反两面复印。凡要求提交复印件的,同时查验原件。上述材料须加盖骑缝公章。
申报要点
1.申报单位统计地须在龙岗区,统计信息以区统计局数据为准,如申报单位未在区统计局填报信息的,请于申报前到区统计局或街道统计办填报信息。
2.企业申请之前需在龙岗区科技金融服务平台上登记。
3.申请利息补贴和担保费补贴必须要贷款还清后才能申报,且还款时间在2017年5月10日后的贷款方能申请。(相关政策细则可在我局官网政策法规中查询)
4.企业可以同时申请多笔贷款的利息或担保费的补贴,但额度不超过政策要求(相关政策细则可在我局官网政策法规中查询)(相关政策细则可在我局官网政策法规中查询)
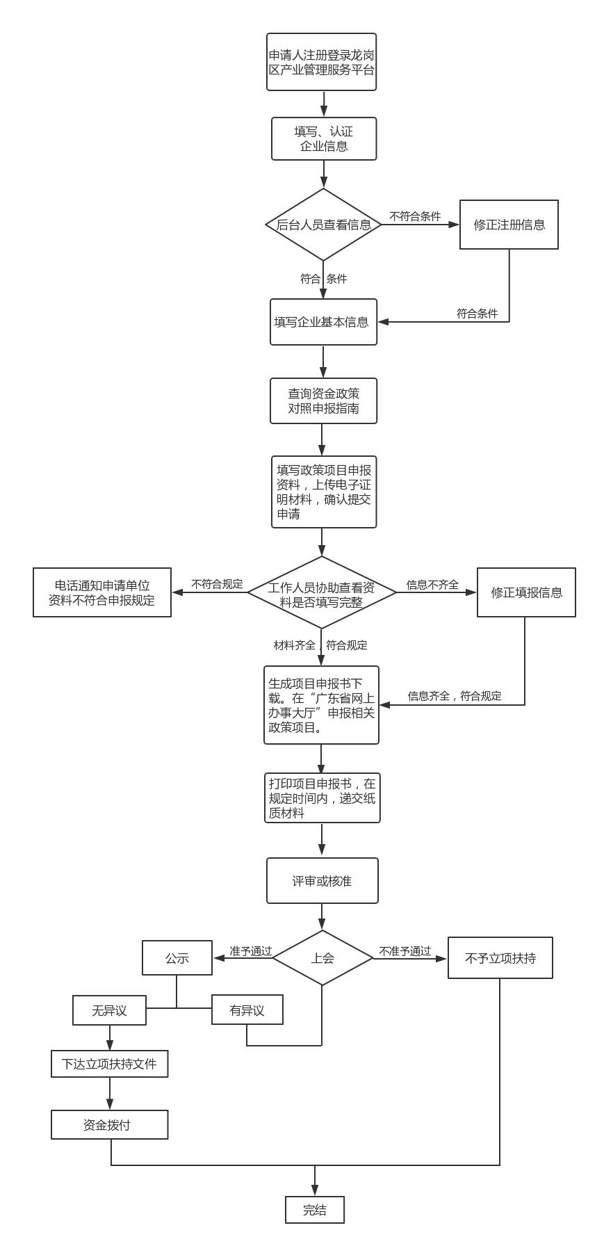
龙岗区科技项目申报流程图(科技创新局)



高新企业
专精特新
科技型企业
创新型企业
知识产权
福建省政策
福州市政策
厦门市政策
武汉市政策
深圳市政策